作者:國工智能實施團隊—曹靜
前言
科技橫飛的時代,大部分實驗室管理系統(LIMS)都擁有數十上百的分析儀器設備,一臺儀器檢測數十個項目,實驗室的溫度、濕度、壓強與實驗結果的相關性越來越受人們的關注。國工智能實驗室管理系統融合了國工智能數據大腦平臺,平臺內提供上百中統計學相關算法及機器學習算法,對實驗室的數據進行分析、挖掘,提高企業產品附加值及行業競爭力。本次案例就因子分析與實驗室LIMS系統相融合進行探討及應用舉例。
含義
因子分析是指根據相關性大小把變量分組,使得同組內的變量之間相關性較高,但不同組的變量不相關或相關性較低,每組變量代表一個基本結構—即公共因子。使用因子分析可通過評估變量之間的相關來評估數據的結構,使用此分析可以將每個原始變量建模為這些底層因子的線性函數。
案例
某企業LIMS實驗室想了解溫度、濕度、壓強、實驗結果這四個因子之間的相關性,在不同的溫度、濕度、壓強下對同一個樣品進行測試,得到7次實驗結果如表1所示,試分析不同的溫度、濕度、壓強、實驗結果的相關性大小。
|
溫度 |
濕度 |
壓強 |
實驗結果 |
|
20 |
58 |
70 |
40.32 |
|
22 |
54 |
75 |
39.16 |
|
24 |
50 |
80 |
37.25 |
|
26 |
46 |
85 |
36.01 |
|
28 |
44 |
90 |
34.74 |
|
30 |
40 |
95 |
34.03 |
|
32 |
36 |
100 |
33.89 |
表1 不同溫度、濕度、壓強得到的實驗結果
要驗證溫度、濕度、壓強、實驗結果這四個因子之間是否存在相關性及相關性大小,因此可以采用因子分析進行檢驗。
分析過程
使用國工數據大腦組件對國工實驗室系統數據進行讀取,直接訪問數據庫獲取數據集。

圖1 RDBMS讀取組件
使用集成好算法的因子分析組件進行數據的因子分析處理,對組件參數進行設置,變量字段配置為溫度、濕度、壓強、實驗結果,因為共有4個變量,所以要提取的因子數配置為2,單擊運行,從調試面板中查看分析結果。
圖2 因子分析組件及參數配置
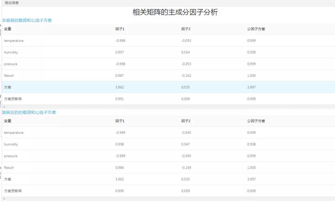
圖3 結果分析
檢查載荷模式,以確定對每個變量影響最強的因子。接近于-1或1的載荷表明因子對變量的影響非常強。接近0的載荷表明因子對變量的影響很弱。有些變量可能對多個因子施加高載荷。
非旋轉因子載荷通常很難解釋,因子旋轉簡化了載荷結構,并且使因子載荷更容易解釋。使用旋轉的因子載荷,可以得出如下結論:
濕度(0.998)和結果值(0.986)在因子1上具有較大的正載荷,溫度(0.999)、濕度(0.998)、壓強(0.999)和結果值(1)在因子3上具有較大的正載荷,所以這兩個因子共同解釋數據變異的0.999或99.9%。
與LIMS系統相融合
國工數據大腦平臺可直接獲取實驗室LIMS系統中的實驗數據,直接將實驗數據對接到創建好的因子分析模型中,根據得出的結果分析溫度、濕度、壓強、實驗結果在因子1和因子2的相關性。
參數說明
因子載荷:表示因子對變量的解釋程度。載荷范圍可以為-1到1,國工數據大腦因子分析組件會計算非旋轉因子載荷和旋轉因子載荷。
變量:分析研究對象的變量。
要提取的因子數:因子數必須至少為1且不得超過總變量數,為了取得最佳結構,數據中的每3個變量擁有的因子不得超過一個。例如,有12個變量,則最多提前4個因子。
方差貢獻率:使用方差貢獻率(%Var)可確定因子解釋的方差量。保留解釋可接受方差水平的因子。
方差(特征值):如果使用主分量提供因子,則方差等于特征值。可使用特征值的大小確定因子數。保留具有最大特征值的因子。
適用范圍
不同的變量選擇因子數之后,分析因子對變量的是否有影響。
2025-07-14
培訓賦能AI化工升級,客戶價值驅動產業創新
夏日的煙臺,海風送爽。在第十屆煙臺國工智能科技有限公司AI研究院“AI課題文獻綜述分享茶歇會”上,一場聚焦“人工智能與化工領域深度融合”的智慧盛宴成功舉辦。
6月9日,第八屆煙臺國工智能科技有限公司AI研究院“AI課題文獻綜述分享茶歇會”成功舉辦。本次會議聚焦“基于遺傳算法的高分子配方設計方法”,通過前沿技術分享與案例解析,展現了國工智能在AI+材
2024-11-13
智能光譜儀在四氫呋喃精餾回收工藝在線檢測的應用
精餾回收工藝是醫藥化工行業中的最為重要的典型單元操作之一,在原料藥、精細化工、輕工業等各個領域都有極其廣泛的應用。由于精餾過程的復雜性,精餾工藝過程的終點現階段仍需要生產工人每隔一定時間取樣送實驗室檢測,通過氣相色譜測定含量,卡爾費休滴定法
2023-09-28
月圓人圓,國工與您賀中秋迎國慶!
中秋節是中國傳統節日之一,也是一年中最重要、最盛大的節日之一。在這一天,以明亮的月亮和家人團聚為特點,承載著人們無盡的思念和美好的祝福。 國慶、中秋兩節遇, 合家團圓精神俱。 團團圓圓過中秋, 歡歡喜喜